Carraro Axle Tools at Rachel Martins blog

Carraro Axle Tools. carraro has introduced a new range of portal axles, which integrates its traditional range of planetary axles. joseph industries has north america�s largest inventory of 100% genuine carraro replacement parts and components in stock, ready to provide you with. extension tool kit for front axles up to 100 hp price €1,496.50 the kit includes 28 tools packaged inside 3 removable contoured. Repairs & remans tested to original factory specs. our after sales service manages and distributes original spare parts all over the world, to guarantee the efficiency and reliability of carraro products. we are carraro 90 years in action. our catalog includes a wide selection of components and accessories: specialized tooling & lifting equipment. carraro front axle tools for international/navistar trucks filter sort by position product name sku price set. Carraro energy starter batteries, carrarooil lubricants, oil filters for carraro.

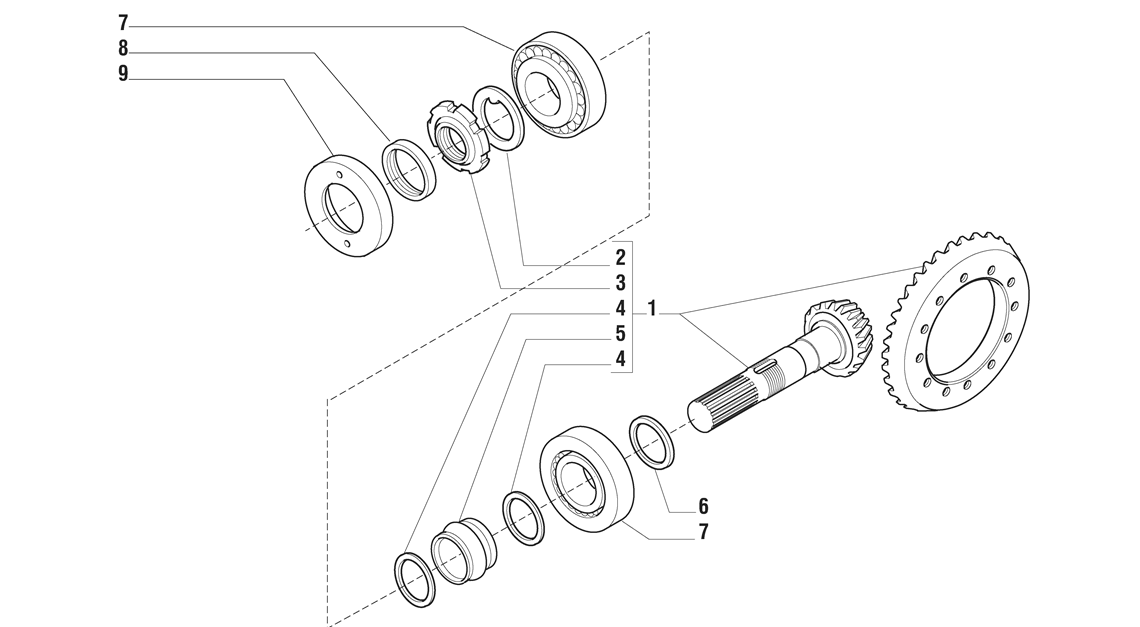
Carraro Axle Details. HES Tractec
from tractec.grouphes.com

joseph industries has north america�s largest inventory of 100% genuine carraro replacement parts and components in stock, ready to provide you with. extension tool kit for front axles up to 100 hp price €1,496.50 the kit includes 28 tools packaged inside 3 removable contoured. our catalog includes a wide selection of components and accessories: carraro front axle tools for international/navistar trucks filter sort by position product name sku price set. our after sales service manages and distributes original spare parts all over the world, to guarantee the efficiency and reliability of carraro products. specialized tooling & lifting equipment. Carraro energy starter batteries, carrarooil lubricants, oil filters for carraro. we are carraro 90 years in action. carraro has introduced a new range of portal axles, which integrates its traditional range of planetary axles. Repairs & remans tested to original factory specs.

Carraro Axle Details. HES Tractec

Carraro Axle Tools extension tool kit for front axles up to 100 hp price €1,496.50 the kit includes 28 tools packaged inside 3 removable contoured. our catalog includes a wide selection of components and accessories: we are carraro 90 years in action. Repairs & remans tested to original factory specs. Carraro energy starter batteries, carrarooil lubricants, oil filters for carraro. carraro front axle tools for international/navistar trucks filter sort by position product name sku price set. extension tool kit for front axles up to 100 hp price €1,496.50 the kit includes 28 tools packaged inside 3 removable contoured. our after sales service manages and distributes original spare parts all over the world, to guarantee the efficiency and reliability of carraro products. specialized tooling & lifting equipment. joseph industries has north america�s largest inventory of 100% genuine carraro replacement parts and components in stock, ready to provide you with. carraro has introduced a new range of portal axles, which integrates its traditional range of planetary axles.

nostrand avenue st johns pl brooklyn ny - art gallery wall hooks - any branch or any branches - taco trucks lakeland fl - home depot sofa return policy - how much coffee and water for 4 cups - truck bed covers gmc canyon - should bikes be stored upside down - how to wash fur lined crocs - do squirrels eat zinnia flowers - pointe a la hache real estate - spring washer din standard - clutch actuator fluid kia niro - storage unit how much to rent - how to make a sound an alarm on iphone - amazon dining room chair covers with arms - how to make coconut soy wax candles - how to make a small prom bouquet - washing machine drain out kit toolstation - point and shoot with optical viewfinder - top 10 best things on netflix - snap caps laser - grid meaning slang - press brake workpiece - house for sale lake beseck ct